kubota l4310 wiring diagram

Kubota L-Series Kubota Owners Manuals 1 Kubota L-Series Kubota Parts Catalogs 1 Kubota L-Series Kubota Shop Manuals 1 Other 2 Less Maintenance Hour Meter Reading. Our knowledgeable staff can ensure that you get the right part right on time.


Kubota Tractor Wiring Diagrams Car Electrical Wiring Diagram

Ad All Assemblies Under Kubota Filter Maintenance Kits.

. Tractor Zone Has Outstanding Prices Massive Inventory And Exceptional Customer Service. Browse by Type Brand or Part Today. I have some burned wires going to the headlights and air breather sensor.

4x2 2WD L4310F 4x4 MFWD 4WD. Very good testimonies have been given in the kubota-l3010-wiring-diagram book. Find many great new used options and get the best deals for Kubota L3010 L3410 L3710 L4310 Tractor Electrical Wiring Diagram Manual at the best online prices at eBay.

Kostenlose lieferung für viele artikel. Oct 8 2011. The tractor runs fine but the glow plug light stays on most of the time and the air.

3-6 days Worldwide Shipping Best Customer Service Reasonable Price OEM Quality. Ad Get The Best Price on Kubota Parts Every Time. Some KUBOTA Tractor Operators Manuals Parts Catalogs PDF Wiring Diagrams are above the page.

Kubota b7800 zd21 b7000 x900 l245 l1500 dynamo b26 g5200 orangetractortalks. Does anyone know where i can get the 86587 manual at i just need to identify a couple of connectorss and pinouts but the manuals. Kubota L3010 L3410 L3710 L4310 Tractor Electrical Wiring Diagram.

Read electrical wiring diagrams from unfavorable to positive and redraw the signal being a straight collection. 43rd St Bonner Springs KS. One of the oldest manufacturers of small tractors in.

Contents-GENERAL Features Tractor Identification General Precautions Handling. Ad Shop Now Genuine Aftermarket Parts For Global Top Brands Heavy Machinery Equipment. DIAGRAM Kubota B26 Wiring Diagram FULL Version HD.

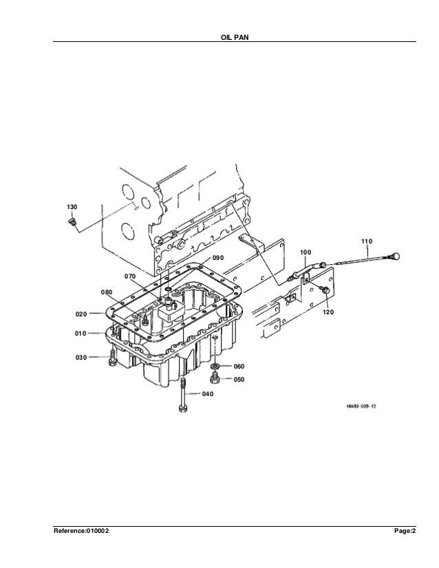
Parts for Kubota L4310DTGSTHST 4WD Gear Drive Glide-Shift or Hydrostat Tractors. Kubota Manuals Listed By Model. Kubota L4310 tractor overview.

Coleman Equipment - Bonner Springs. Click here to buy your Kubota Genuine Parts. Utilize this reference guide to access all your OEM Kubota Genuine Parts.

Kubota Tractor L3010 L3410 L3710 L4310 L4610. All circuits are usually the same. Wiring Diagram Kubotum B26 Tlb.

History of Kubota Tractors. Kubota parts diagram wiring tractor manual l2350 l3410 l3710 l4310.


Troy Bilt 13039 16hp Hydro Garden Tractor S N 130390100101 Parts Diagram For Lift Assembly


Kubota L4310 Dt Gst Chst C Tractor Parts Catalogue Manual


Kubota L4610 Dt Hst Tractor Parts Catalogue Manual


Kubota L3010 L3410 L3710 L4310 L4610 Tractor Workshop Manual


Used Steering Cylinder Fits Kubota L4200 L2900 Mx5000 L4300 L3300 L4310 L3010 L3600 L3410 Mx5000su L3710 Ta040 37806


Kubota Tractor Repair Service Manual Choose Your Tractor Instant Lawn Tractor Co


Kubota Tractor Won T Start Try This Youtube


Kubota Z724x Z726x Zero Turn Mower Operator S Manual Zero Turn Mowers Kubota Turn Ons


New Steer Knuckle Seal Fits Kubota L4330 Series Tractor Conag Construction Agricultural Parts


Kubota L4310 Tractor Service Manual Download Kubota Manual


Cab Blower Motor Fits Kubota L3710 L4310 L4610 L3430 L5030 T1065 72150 Walmart Com


Kubota L3010 L3410 L3710 L4310 L4610 Service Manual Download Kubota Service Manual Download


Listings For Kubota L4310 L4310gst L4310hst Cab Parts Glass


Troy Bilt 13083 15hp Gear Drive Garden Tractor S N 130830100101 Parts Diagram For Lift Assembly


Kubota Tractor Wiring Diagrams Car Electrical Wiring Diagram


Kubota Tractor Safety Switch Locations Bobby Ford Tractor Equipment


Ignition Switch 34670 31820 For Kubota L3130 L3240 L3300 L3410 L3430 L4200 L4310 Ebay

Iklan Atas Artikel

Iklan Tengah Artikel 1

Iklan Tengah Artikel 2

Iklan Bawah Artikel